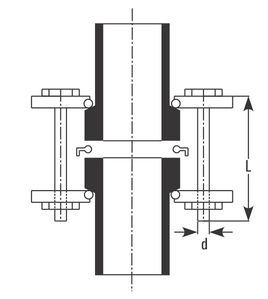
A complete coupling is a set of two backing flanges with insert and nut-bolts. Complete set of flanges require to make a joint & standard one are available in Cast Iron & Mild Steel. Also available in other MOC like Stainless Steel 304 & 316, Siliumin, Bakelite.
| CAT.REF. | DN | FLANGES | INSERTS | NUTS – BOLTS | ||||
|---|---|---|---|---|---|---|---|---|
| CAT.REF. | QTY | CAT.REF. | QTY | D | L | QTY | ||
| CT0.5 | 12 | CF0.5 | 2nos | CN0.5 | 2nos | 1/4" | 50 | 3nos |
| CT0.7 | 15 | CF0.7 | 2nos | CN0.7 | 2nos | 1/4" | 50 | 3nos |
| CT1* | 25 | CF1 | 2nos | CN1 | 2nos | 5/16″ | 65 | 3nos |
| CT1.5* | 40 | CF1.5 | 2nos | CN1.5 | 2nos | 5/16″ | 65 | 3nos |
| CT2* | 50 | CF2 | 2nos | CN2 | 2nos | 5/16″ | 75 | 3nos |
| CT3* | 80 | CF3 | 2nos | CN3 | 2nos | 5/16″ | 75 | 6nos |
| CT4* | 100 | CF4 | 2nos | CN4 | 2nos | 5/16" | 100 | 6nos |
| CT6* | 150 | CF6 | 2nos | CN6 | 2nos | 5/16" | 100 | 6nos |
| CT8 | 200 | CT8 | 2nos | CN8 | 2nos | 3/8" | 125 | 8nos |
| CT9* | 225 | CF9 | 2nos | CN9 | 2nos | 3/8″ | 125 | 8nos |
| CT12* | 300 | CF12 | 2nos | CN12 | 2nos | 3/8" | 150 | 12nos |
| CF with inbuilt insert above size of 12 | ||||||||
| CT16 | 400 | CF16 | 2nos | 3/8" | 150 | 12nos | ||
| CT18* | 450 | CF18 | 2nos | 1/2″ | 150 | 12nos | ||
| CT24 | 600 | CF24 | 2nos | 1/2″ | 150 | 12nos | ||
| CT32 | 800 | CF32 | 2nos | 1/2″ | 150 | 24nos | ||