Column Packing / Raschig Rings

Column Packing / Raschig Rings

Raschig ring ranging from 8 mm to 50 mm are available in 3.3. Borosilicate glass.

CAT. REF. SIZE BULK DENSITY KG/LTR SPECIFIC SURFACE M2/M3 GLASS
FC8 8x8 0.66 633 Borosilicate
FCB10 10x10 0.52 487 Borosilicate
FCB12 12×12 0.48 425 Borosilicate
FCB15 15×15 0.43 330 Borosilicate
FCB20 20x20 0.30 300 Borosilicate
FCB25 25x25 0.28 240 Borosilicate
FCB30 30x30 0.27 180 Borosilicate
FCB40 40×40 0.22 160 Borosilicate
FCB50 50×50 0.19 120 Borosilicate
Best, Top, We serve the  Long Lasting, Column Packing, Raschig Ring up to 50mm Packing Column Packing price, Products manufacturing company, Raschig Rings  Goel Scientific Canada USA

Pall Rings

Pall Rings are also available for column packing as per below specification.

Cat.Ref. Size Bulk
Density
Kg/Ltr
Specific
Surface
m2/m3
Glass
FCP30 30x30 0.38 234 Borosilicate
FCP40 40x40 0.32 187 Borosilicate
FCP50 50x50 0.26 140 Borosilicate
Best, Top, We serve the  Long Lasting, Column Packing, Raschig Ring up to 50mm Packing Column Packing price, Products manufacturing company, Raschig Rings  Goel Scientific Canada USA

Column Feed Pipe

Feed pipe directs the process fluidto the centre of the column.

Best, Top, We serve the  Long Lasting, Column Packing, Raschig Ring up to 50mm Packing Column Packing price, Products manufacturing company, Raschig Rings  Goel Scientific Canada USA
Cat.Ref. DN DN1 DN2 L d
FP3 80 25 25 100 12
FP4 100 25 25 125 12
FP6 150 40 25 150 19
FP9 225 40 25 175 19
FP12 300 40 25 225 19
FP16 400 40 25 275 19
FP18 450 40 25 300 19
FP24 600 50 40 450 25

Note: DN refers the nominal diameter of the column.

Column Feed Spargers

In column feed spargers, holes are provided at three sides of pipe.

Best, Top, We serve the  Long Lasting, Column Packing, Raschig Ring up to 50mm Packing Column Packing price, Products manufacturing company, Raschig Rings  Goel Scientific Canada USA
Cat.Ref. DN DN1 DN2 L Holes
SPG3 80 25 25 125 21x2mm
SPG4 100 25 25 150 21x2mm
SPG6 150 40 25 200 27x2mm
SPG9 225 40 25 275 27x2mm
SPG12 300 40 25 350 30x3mm
SPG16 400 40 25 450 39x3mm
SPG18 450 40 25 500 39x3mm
SPG24 600 50 40 650 60x3mm

Note: DN refers the nominal diameter of the column.

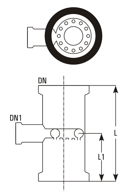
Spray Feed Section

Spray feed section are provided with circular tube having holes at the bottom.

Best, Top, We serve the  Long Lasting, Column Packing, Raschig Ring up to 50mm Packing Column Packing price, Products manufacturing company, Raschig Rings  Goel Scientific Canada USA
Cat.Ref. DN DN1 L L1 Holes
FR3 80 25 200 100 21x2mm
FR4 100 25 250 125 21x2mm
FR6 150 40 250 125 27x2mm
FR9 225 40 250 125 27x2mm
FR12 300 40 300 150 30x3mm

Note: For bigger columns, Spray feed pipe withUnequal Tee should be used.

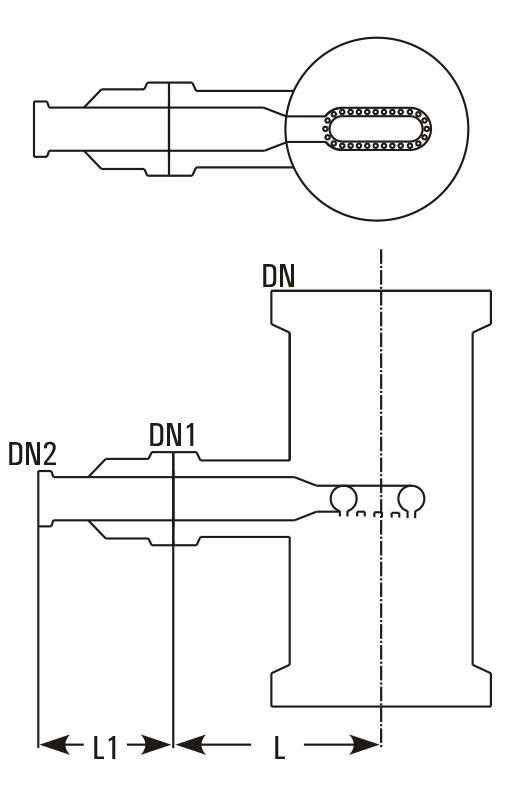
Spray Feed Pipes

Spray feed pipes are provided with oval tubehaving holes at the bottom.These should be usedwith unequal tees.

Best, Top, We serve the  Long Lasting, Column Packing, Raschig Ring up to 50mm Packing Column Packing price, Products manufacturing company, Raschig Rings  Goel Scientific Canada USA
Cat.Ref. DN DN1 DN2 L L2 Holes Size Tee Suitable
FD6 150 80 25 225 125 27x2mm PTU6/3
FD9 225 100 25 325 150 27x2mm PTU9/4
FD12 300 150 25 400 200 30x3mm PTU12/6
FD16 400 150 50 500 200 39x3mm PTU16/6
FD18 450 150 50 550 200 39x3mm PTU18/6
FD24 600 150 50 700 200 60x3mm PTU24/6

Note: DN refers the nominal diameter of the column.

PTFE Redistributors

PTFE redistributors are used to prevent channeling incolumns. These can be clamped between twocomponents without using any gasket.

Best, Top, We serve the  Long Lasting, Column Packing, Raschig Ring up to 50mm Packing Column Packing price, Products manufacturing company, Raschig Rings  Goel Scientific Canada USA
Cat.Ref. DN d L
TL3 80 55 20
TL4 100 80 20
TL6 150 100 20
TL9 225 175 22
TL12 300 215 25
TL16 400 315 25
TL18 450 365 30
TL24 600 420 30
Reactor Catalogue Lab Catalogue QVF Catalogue
Inquiry Call WhatsApp